SAF37齒輪減速機詳細信息
SAF37齒輪減速機
SAF37齒輪減速機重量:
SAF37齒輪減速機重量 | SAF37齒輪減速機配電機重量 | ||||||
SAF37-0.12KW | SAF37-0.18KW | SAF37-0.25KW | SAF37-0.37KW | SAF37-0.55KW | SAF37-0.75KW | SAF37-1.1KW | |
10Kg | 15.5Kg | 16Kg | 20Kg | 20.5Kg | 25Kg | 26Kg | 30Kg |
SAF37齒輪減速機潤滑油:
SAF37齒輪減速機潤滑油類型有礦物油,合成油,齒輪油。
SAF37齒輪減速機潤滑油類型 | SAF37齒輪減速機不同安裝方式的潤滑油加注量(升) | |||||
M1 | M2 | M3 | M4 | M5 | M6 | |
合成油 | 0.25升 | 0.40升 | 0.50升 | 0.50升 | 0.40升 | 0.40升 |
SAF37齒輪減速機電機溫度:
| 功率 | 空載溫度 | 負載溫度 |
| 100W | 45℃ | 60℃ |
| 180W | ||
| 200W | 50℃ | 62℃ |
| 250W | 50℃ | 65℃ |
| 370W | ||
| 400W | 47℃ | 67℃ |
| 400W | 52℃ | 65℃ |
| 400W | 42℃ | 60℃ |
| 550W | 50℃ | 68℃ |
| 750W | 50℃ | 85℃ |
| 750W | 51℃ | 62℃ |
| 1100W | 51℃ | 85℃ |
| 1100W | 55℃ | 80℃ |
| 1500W | 53℃ | 85℃ |
| 1500W | 50℃ | 94℃ |
| 1500W | 50℃ | 60℃ |
| 2200W | 55℃ | 90℃ |
| 2200W | 50℃ | 70℃ |
| 3000W | 51℃ | 80℃ |
| 3700W | 52℃ | 78℃ |
| 5500W | 50℃ | 65℃ |
| 7500W | 50℃ | 65℃ |
| 4000W | 50℃ | 65℃ |
| 5500W | 50℃ | 65℃ |
| 7500W | 50℃ | 65℃ |
| 5500W | 50℃ | 80℃ |
| 50℃ | 80℃ | |
| 50℃ | 80℃ | |
| 50℃ | 80℃ | |
| 50℃ | 80℃ | |
| 7500W | 50℃ | 80℃ |
| 50℃ | 80℃ | |
| 11KW | 23A | |
| 40 | ||
| 15kw | 31.5A | |
| 54.6 | ||
| 18.5KW | 37 | |
| 64.1 | ||
| 22KW | 43 | |
| 74.5 | ||
| 24KW | 47.7 | |
| 30KW | 57 | |
| 98.7 |
質量好的SAF37齒輪減速機:檢驗項目自鎖減速機
1.SAF37齒輪減速機機械性能檢測:振動、噪音異響速比軸跳動外觀型號氣密性;
2.SAF37齒輪減速機電器性能檢驗:漏電、電流平穩性空載電流;
3.SAF37齒輪減速機裝箱檢驗:減速機配套附件說明書、合格證。伺服電機渦輪渦桿減速機
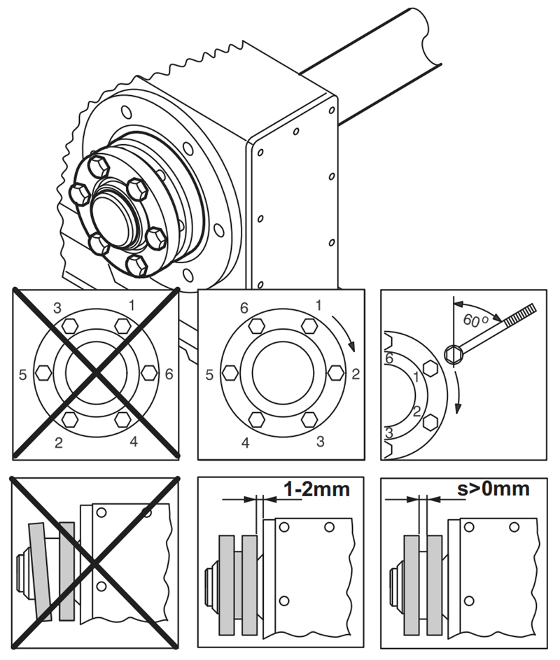
SAF37齒輪減速機鎖緊盤拆卸步驟:
依次旋轉四分之一圈松開拉緊螺釘,以避免對外圈造成傾斜。依次均勻擰開拉緊螺釘。毋需將拉緊螺釘完全擰出。卸下軸并從軸上拔出軸轂(必須事先清除可能在軸輪轂前形成的銹跡)。將鎖緊盤從空心軸上拔出。

重新安裝前,拆卸下的鎖緊盤不需要進一步拆分。若鎖緊盤沾有污垢請對其進行清潔并潤滑。采用類似于Molykote BR2或類似的通用潤滑油對拉緊螺釘進行潤滑。請采用下列固體潤滑劑對錐形面進行潤滑:
| 潤滑劑(Mo S2) | 潤滑劑形式 |
| 二硫化鉬潤滑劑321(潤滑漆膜) | 噴霧 |
| 二硫化鉬噴霧罐(粉末噴霧) | 噴霧 |
| 二硫化鉬G Rapid | 噴霧狀或者膏狀 |
| Aemasol MO 19P | 噴霧狀或者膏狀 |
| Aemasol DIO-sétral 57N(潤滑漆膜) | 噴霧 |
SAF37齒輪減速機選型參數:
| SAF37齒輪減速機負載扭矩 | 92N.m,91N.m,88N.m,87N.m,86N.m,85N.m,84N.m,82N.m,81N.m,80N.m,79N.m,78N.m,76N.m,75N.m,74N.m,73N.m,52N.m,71N.m,50N.m,49N.m,48N.m,47N.m,46N.m,45N.m,43N.m,35N.m,34N.m,33N.m,32N.m。(以上扭矩均為四級電機得出扭矩,需要比上面更大的扭矩,可把電機功率加大,減速機型號加大,或者選擇跟R系列減速機組合使用) |
| SAF37齒輪減速機速比 | 157.43比,144.40比,122.94比,106比,98.80比,86.36比,80.96比,71.44比,63.33比,55.93比,53.83比,51.30比,43.68比,37.66比,35.10比,30.68比,28.76比,25.38比,22.50比,19.89比,19.13比,18.24比,15.53比,13.39比,12.48比,10.91比,10.23比,9.02比,8.00比,6.80比,6.33比,5.38比,4.86比,3.97比。 |
| SAF37齒輪減速機輸出轉數 | 8.9轉減速機,9.7轉,11轉,13轉,14轉,16轉,17轉,20轉,22轉,25轉,26轉,27轉,32轉,37轉,40轉,46轉,49轉,55轉,62轉,70轉,73轉,77轉,90轉,105轉,112轉,128轉,137轉,155轉,175轉,206轉,221轉,260轉,288轉,353轉。(以上轉數均為四級電機算出的,可用2P、6P、8P計算,也可以用變頻電機調速,當需要特別低速輸出時,可選擇R系列減速機作為S系列減速機的輸入) |
| SAF37齒輪減速機配電機 | 可加三相、直流、變頻、剎車、防爆、伺服、交流、單相電機SAF37加0.12KW,SAF37加0.18KW,SAF37加0.25KW,SAF37加0.37KW,SAF37加0.55KW,SAF37加0.75KW,SAF37加1.1KW。 |
SAF37齒輪減速機銘牌含義:
SAF37-BVPEJ18.5KW-4P-93.19-M1-270°
:系列代號
:減速機規格代號
B:電機
VPEJ:變頻剎車電機
18.5KW:電機功率
4P:電機級數
93.19:減速機傳動比
M1:減速機安裝位置
270°:接線盒位置
SAF37齒輪減速機電機型號:

推薦類似型號:S37減速機
關鍵詞:伺服電機加渦輪渦桿減速機一體化_立式蝸桿減速機_立式蝸輪蝸桿減速機_GSAF系列減速機_SAF系列減速機_SAF系列減速器_伺服電機渦輪渦桿減速器_伺服渦輪渦桿減速機_立式蝸輪減速機
SAF系列蝸輪蝸桿減速機型號:SAF37減速機,SAF47減速機,SAF57減速機,SAF67減速機,SAF77減速機,SAF87減速機,SAF97齒輪減速機
SAF系列自鎖減速機可配變頻電機,剎車電機,防爆電機,伺服電機,交流電機,直流電機,三相電機,單相電機 0.12KW-22KW之間
如需工程師幫選型,請加微信13827261050,留言告知工程師參數要求
標簽:   SAF37齒輪減速機 SAF37減速齒輪箱 SAF37減速馬達 SAF37齒輪減速機廠家 SAF37齒輪減速機生產廠家
